A TWO AXIS SOLAR TRACKING SYSTEM TO TRACK SUN RAYS

  • Short Desription

    Abstract/Short Description of Invention

  • Problem Addressed

    Describe The Problem the Invention Addresses in Simple Terms

  • Solution to Solution

    The Invention Namely the Solution to the Problem

  • Prior Art Addressed

    Invention Addressed a Major Gap In Prior Art

  • Unique Features

    Unique Features of Product/Process/Service

  • Commercial & Market View

    Commercial and Market Potential

Abstract / Short Description (Simplified for Non-Experts)

This invention is a solar panel mounting system that automatically moves solar panels in two directions so they continuously face the sun throughout the day and across seasons.

The system uses a simple mechanical linkage with sliding beams and support struts to tilt the panels north-south and rotate them east-west using controlled linear motion from actuators. This avoids complex gears and heavy rotating structures used in conventional dual-axis trackers.

As a result, solar installations can capture more sunlight and generate more electricity while using a lighter, easier-to-maintain structure suitable for large solar farms.

Problem the Invention Addresses

Solar panels generate the most electricity when sunlight hits them directly. However, the sun’s position changes constantly:

  • During the day — moves from East to West
  • During the year — shifts North to South due to seasonal changes

Because of this movement, most solar installations cannot maintain the ideal angle all the time.


Limitations of Existing Solutions

1. Fixed-Tilt Systems


  • Panels are installed at a single angle
  • Easy and low cost, but large energy loss occurs for most of the day
  • Significant reduction in annual power generation

2. Single-Axis Trackers (Common Industry Standard)


  • Panels move only East-West (daily movement)
  • Cannot adjust to seasonal sun position
  • Performance drops during winter and seasonal transitions
  • Plants do not reach maximum energy yield

3. Conventional Dual-Axis Trackers


  • Can follow the sun in both directions
  • Provide high energy output
  • However:
  • Mechanically complex
  • Heavy structures
  • Expensive gearboxes and drive systems
  • High maintenance requirements
  • Difficult to scale for large solar farms


Resulting Challenges for Solar Developers

  • Lower electricity generation than possible
  • Reduced return on investment
  • Higher land usage per MW installed
  • Increased cost of energy (LCoE)
  • Mechanical failures and maintenance in complex trackers

In simple terms:

Solar plants must choose between affordable systems that waste sunlight or efficient systems that are too expensive and complicated to deploy at scale.


The Invention — Solution to the Problem

The patented invention provides a practical dual-axis solar tracking system that allows solar panels to follow the sun both daily (East-West) and seasonally (North-South) using a simple mechanical structure instead of complex rotating machinery.

Instead of rotating the entire panel structure with heavy motors and gearboxes, the system converts straight-line (linear) movement into controlled angular motion. This is achieved through a four-bar linkage mechanism made of beams, struts, and supporting pillars.

How the Solution Works

The system uses two coordinated motions:

1. East–West Movement (Daily Sun Path)


  • A sliding upper beam moves in a straight line
  • This motion is transferred through flexible brackets and bearings
  • The solar panels rotate to follow the sun from morning to evening

2. North–South Tilt (Seasonal Sun Shift)


  • A lower sliding beam moves between support pillars
  • Connected struts convert the sliding motion into frame tilting
  • Panels adjust angle for summer and winter sun positions

Both movements are powered by actuators and can be controlled automatically by a controller.


Key Concept Behind the Innovation

The invention replaces:


  • Torque tubes
  • Gearboxes
  • Large rotating shafts
  • Complex multi-motor systems

with a balanced linkage geometry that moves many panels using minimal force.


What Makes This a Practical Industry Solution

The system achieves dual-axis tracking while keeping the structure simple and scalable:

  • Linear motion instead of heavy rotational drives
  • Fewer moving parts
  • Ability to move multiple panels with one actuator
  • Easy installation and transport
  • Stable under wind forces
  • Suitable for large solar farms

Commercial Outcome

This invention solves the industry trade-off by delivering:

High energy capture (dual-axis performance) + low mechanical complexity (single-axis practicality)

As a result, solar plants can generate more electricity without adopting expensive or maintenance-heavy tracking systems, improving overall project economics and scalability.



The Gap in Existing Technologies

Prior solar tracking technologies fall into two separate categories, each with critical limitations:

1. Single-Axis Trackers

  • Track the sun only from East to West (daily movement)
  • Do not adjust for seasonal North-South sun position
  • Result: noticeable loss of energy generation, especially during winter and seasonal transition periods

2. Conventional Dual-Axis Trackers

  • Track both daily and seasonal movement
  • Provide higher energy output
  • However:
  • Require complex rotating structures
  • Use heavy torque tubes, gear drives, and multiple motors
  • High manufacturing and installation cost
  • Difficult maintenance
  • Limited scalability for large solar farms

The Industry Gap

There has been no practical system combining:

  • Dual-axis energy performance
  • with
  • Mechanical simplicity and cost efficiency suitable for utility-scale deployment

In other words, the market had to choose between:

  • Affordable but lower-yield systems, or
  • High-yield but commercially impractical systems

How the Invention Fills the Gap

The patented system introduces a four-bar linkage mechanism that converts linear actuator motion into panel rotation and tilt.

This enables dual-axis tracking without heavy rotating machinery or complex drive assemblies.

Result:

A commercially deployable solution delivering near dual-axis performance using a simpler, lighter, and lower-cost mechanical architecture.

Conclusion

The invention closes a long-standing industry gap by making dual-axis tracking economically and mechanically practical for large-scale solar installations — something prior art systems were unable to achieve.

Unique Features of the Product (Solar Tracking System)

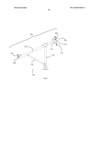
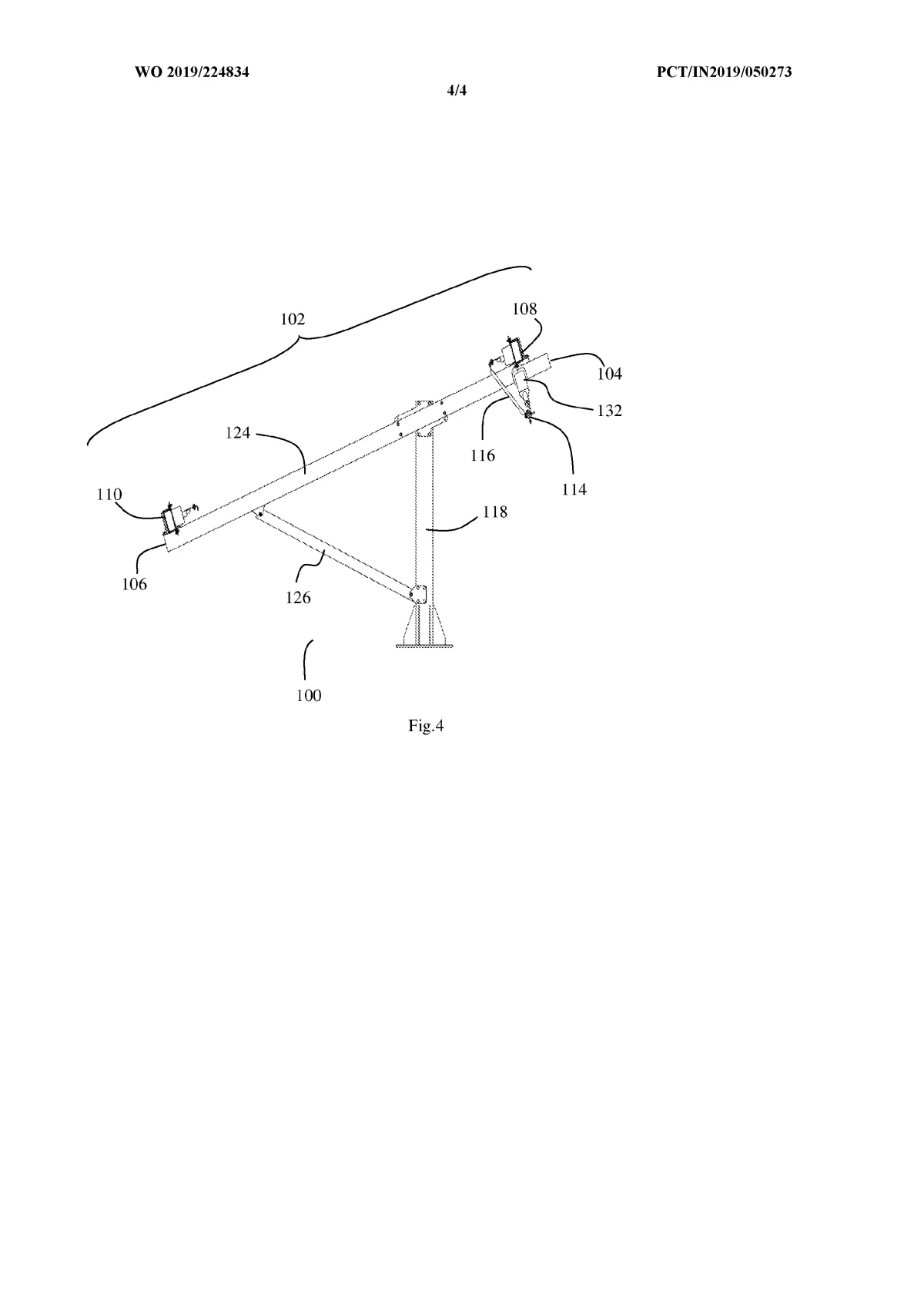
Four-Bar Linkage Motion Conversion
Converts simple straight-line actuator movement into panel rotation and tilt, eliminating complex rotating drive assemblies.

True Dual-Axis Tracking with Linear Motion
Achieves both East-West (daily) and North-South (seasonal) sun tracking using sliding beams instead of heavy rotating shafts.

Two-Beam Mechanism (Upper & Lower Beam Control)

Upper beam controls panel rotation (East-West)

Lower beam controls frame tilt (North-South)

Selectively Flexible Bracket Transmission
Transfers motion smoothly to the panel bearings while allowing controlled angular displacement.

Strut-and-Spherical Joint Architecture
Struts connected through spherical joints provide multi-directional flexibility, smooth motion, and alignment on uneven terrain.

Multi-Panel Movement with Single Actuator
Multiple panels or rows can be moved together, reducing number of motors and control components.

No Torque Tubes or Gearboxes
Removes heavy, failure-prone drivetrain components commonly used in conventional trackers.

Balanced Structure for Wind Stability
Mechanical geometry distributes forces and allows locking of the frame position during high wind conditions.

Modular and Easy to Install
Lightweight frame with supporting pillars allows quick assembly and transport to remote solar sites.

Automated Control Compatibility
Operates using programmable electronic controllers with electric, hydraulic, or pneumatic actuators.

These features together create a simpler, scalable dual-axis tracking system suitable for large solar installations.

 

 

 

 

 

Industries where the invention can be useful?

Utility-scale solar farms, Independent power producers (IPP), Renewable energy developers, EPC (Engineering, Procurement & Construction) solar contractors, Solar tracker manufacturers, Solar mounting structure manufacturers, Commercial & industrial rooftop solar, Agricultural solar installations (agrivoltaics), Off-grid and rural electrification projects, Microgrids and hybrid power systems,

An estimate of the total addressable market?

Market Size – Total Addressable Market (TAM) The invention applies to the global solar mounting and tracking systems market, a critical component of every photovoltaic (PV) power plant. Trackers are typically installed in medium-to-large solar projects to increase electricity output and project revenue. Global Opportunity The worldwide solar power installation market continues to grow rapidly, adding hundreds of gigawatts (GW) annually A large and increasing share of new solar plants now use tracking systems instead of fixed structures Utility-scale plants — the primary target for this invention — represent the majority of global solar capacity additions Industry benchmarks (rounded estimates): Global solar installations: ~400+ GW added annually (recent years trend) Tracker adoption in utility-scale projects: ~60–80% Typical tracker system cost: roughly $70,000 – $150,000 per MW depending on design and region Estimated TAM (Tracker Hardware Only) Segment Estimated Value Annual new solar installations using trackers ~$20B – $40B per year Installed base retrofit & replacement market Multi-billion-dollar recurring opportunity Long-term global cumulative opportunity Hundreds of billions over project lifetimes Addressable Segment for This Patent The invention is most relevant to: Utility-scale solar farms (largest market share) Emerging markets with strong seasonal sun movement Cost-sensitive projects needing higher yield without complex systems Because the technology targets the gap between single-axis and traditional dual-axis trackers, it fits into a large existing purchasing category, rather than requiring creation of a new market. Commercial Implication The patent participates directly in a major infrastructure market where: Every new solar plant requires mounting/tracking hardware Even small performance improvements affect project financing decisions Manufacturers continuously seek differentiated tracker designs This creates a broad and recurring licensing opportunity across global solar equipment manufacturers.

Potential Customers/End Users. Who might benefit?

Potential Customers / End Users — Who Benefits The invention is valuable to organizations involved in building, operating, or supplying solar power systems where higher electricity generation and reliable mechanical performance directly improve project returns. Direct Commercial Customers (Licensees / Buyers) Solar Equipment Manufacturers Solar tracker manufacturers Module mounting structure manufacturers Steel structure and fabrication companies supplying solar hardware Project Developers & Integrators Utility-scale solar project developers EPC (Engineering, Procurement & Construction) contractors Renewable energy engineering firms Independent power producers (IPPs) Energy Asset Owners Solar farm operators Renewable infrastructure investment funds Power utilities expanding solar generation capacity End Users (Operational Beneficiaries) Energy Producers Grid-connected solar power plants Hybrid power plants (solar + storage or solar + wind) Microgrid operators Commercial & Industrial Sector Large factories and industrial parks Warehouses and logistics hubs Data centers Commercial campuses with high daytime energy demand Specialized Deployments Agrivoltaic farms (solar + agriculture) Off-grid electrification projects Remote telecom and infrastructure power systems Defense and government installations Parking structures and solar carports Who Gains the Most Value Projects where land cost is high and energy yield must be maximized Regions with seasonal sun variation Large plants seeking improved return on investment without complex maintenance In short, any organization that generates or supplies solar electricity — especially at medium to large scale — can benefit from this tracking technology.
Estimated Valuation $100,000.00
Varun_Sachar
Varun_Sachar
0 Deals In Queue
Estimated Valuation $100,000.00
N/A
( 0 Reviews )
Application Number
16/968, 694
Patent Number
11114975
Applicant
Varun Sachar
Country
USA
Industry
Renewable Energy
Patent Type
Single Patent
Available For
Sale&License

Actions

Complete Specification

Added all portfolio

Country Current Status Patent Application Number Patent Number Applicant / Current Assignee Name Title Google Patent Link
USA Granted 16/968, 694 11114975 Varun Sachar A SOLAR TRACKING SYSTEM Google patent link
You May Also Llike

You may also like the following patent